|

World's Finest Mechanical Draft Systems |
Enervex Chimney Fans
Model RS Chimney Fan Selection
Wood and Gas Fired Fireplaces and Stoves |
QUICK SIZING.... STEP 1
Determine the type of opening, measure and calculate.....
 |
|
 |
|
 |
|
 |
|
 |
|
 |
| One-sided |
|
Two-sided (See-through) |
|
Corner |
|
Three-sided |
|
Free-standing |
|
Free-standing Round |
| A x B |
|
1.5 x A x B |
|
A x B |
|
( A + B ) x C |
|
1.5 x A x B |
|
1.185 x A2 |
|
QUICK SIZING.... STEP 2 |
Determine the type of flue and measure the INSIDE measurement... use the
chart below to convert square and rectangular to round. |
CONVERSION
OF Rectangular /
Square to Round Flues
|
 |
Measure the INSIDE ( side to side ) measurements of the clay liner.

Ex... The INSIDE measurement of 6 x 10"
on a clay liner is equivalent to
10 (dim.
A) - 6 (dim.
B) = 8 (8"
Round)
NOTE: Clay liners are "called"
by their OUTSIDE measurements, the INSIDE measurements may vary
depending on the manufacturer and location.
EX. A 13x13 clay liner may
only have an INSIDE measurement of 10" x 10" |
|
QUICK SIZING.... STEP
3 |
Use of the following fan
selection tables below to calculate the Enervex fan required to fully exhaust the
fireplace opening and flue system. |
Note: The
RED background
indicates that the fan will most likely create some air-flow noise due to a high
air velocity in the chimney.
The BLUE
background indicates the fan base will not cover the chimney opening and a
special adapter must be used.
| |
Fireplaces (wood-fired) |
| |
Fireplace Opening in square inches |
| Flue
Size |
Max. 400 |
Max. 600 |
Max.
900 |
Max.
1200 |
Max.
1500 |
Max.
2000 |
Max.
2500 |
Max.
3300 |
| 5 |
RS 12 |
RS 16 |
* |
* |
* |
* |
* |
* |
| 6 |
RS 9 |
RS 12 |
RS 16 |
* |
* |
* |
* |
* |
| 7 |
RS 9 |
RS 9 |
RS 14 |
RS 16 |
* |
* |
* |
* |
|
8 |
RS 9 |
RS 9 |
RS 12 |
RS 14 |
RS 16 |
* |
* |
* |
| 9 |
RS 9 |
RS 9 |
RS 12 |
RS 14 |
RS 16 |
RS 16 |
* |
* |
| 10 |
RS 9 |
RS 9 |
RS 12 |
RS 12 |
RS 14 |
RS 16 |
* |
* |
| 12 |
RS 9 |
RS 9 |
RS 12 |
RS 12 |
RS 14 |
RS 14 |
RS 16 |
* |
| 14 |
RS 9 |
RS 9 |
RS 12 |
RS 12 |
RS 12 |
RS 12 |
RS 14 |
RS 16 |
| 16 |
RS 9 |
RS 9 |
RS 12 |
RS 12 |
RS 12 |
RS 12 |
RS 14 |
RS 16 |
| 18 |
RS 9 |
RS 9 |
RS 12 |
RS 12 |
RS 12 |
RS 12 |
RS 14 |
RS 16 |
| 20 |
RS 9 |
RS 9 |
RS 12 |
RS 12 |
RS 12 |
RS 12 |
RS 14 |
RS 16 |
| 22 |
RS 9 |
RS 9 |
RS 12 |
RS 12 |
RS 12 |
RS 12 |
RS 14 |
RS 16 |
| 24 |
RS 9 |
RS 9 |
RS 12 |
RS 12 |
RS 12 |
RS 12 |
RS 14 |
RS 16 |
Check that there are no more than 2x90°
elbows and no more than 30’ of height. If there are more than 2x90° elbows, use
a bigger fan.
 |
The "opening in square
inches" refers to the fireplace or appliances over-all face opening.
Example : In a small wood burning fireplace, if the hearth opening is
18" x 24" with an 8" round ( INSIDE MEASUREMENT ) clay liner in a brick and mortar chimney we
would...
Multiply the length and width, in this case 18" x 24" = 432 square
inches. Being less than 600, on the wood burning chart above, follow the column to the 8"
flue size. Highlighted in
orange, the chart shows an RS 9 to be the proper
size chimney fan for this application. |
Note: The
RED background
indicates that the fan will most likely create some air-flow noise due to a high
air velocity in the chimney.
The BLUE
background indicates the fan base will not cover the chimney opening and a
special adapter must be used.
| |
Fireplaces (gas-fired) |
| |
Fireplace Opening in square inches |
| Flue
Size |
Max. 400 |
Max. 600 |
Max. 1000 |
Max. 2000 |
Max. 2500 |
Max. 3000 |
Max. 3500 |
Max. 5000 |
| 5 |
RS 9 |
RS 12 |
* |
* |
* |
* |
* |
* |
|
6 |
RS 9 |
RS 9 |
RS 12 |
* |
* |
* |
* |
* |
|
7 |
RS 9 |
RS 9 |
RS 12 |
RS 14 |
RS 14 |
* |
* |
* |
|
8 |
RS 9 |
RS 9 |
RS 9 |
RS 12 |
RS 16 |
* |
* |
* |
| 9 |
RS 9 |
RS 9 |
RS 9 |
RS 12 |
RS 12 |
* |
* |
* |
|
10 |
RS 9 |
RS 9 |
RS 9 |
RS 12 |
RS 14 |
RS 16 |
RS 16 |
* |
|
12 |
RS 9 |
RS 9 |
RS 9 |
RS 12 |
RS 14 |
RS 14 |
RS 16 |
* |
|
14 |
RS 9 |
RS 9 |
RS 9 |
RS 12 |
RS 14 |
RS 14 |
RS 14 |
* |
|
16 |
RS 9 |
RS 9 |
RS 9 |
RS 12 |
RS 14 |
RS 14 |
RS 14 |
* |
|
18 |
RS 9 |
RS 9 |
RS 9 |
RS 12 |
RS 14 |
RS 14 |
RS 14 |
RS 16 |
|
20 |
RS 9 |
RS 9 |
RS 9 |
RS 12 |
RS 14 |
RS 14 |
RS 14 |
RS 16 |
|
22 |
RS 9 |
RS 9 |
RS 9 |
RS 12 |
RS 14 |
RS 14 |
RS 14 |
RS 16 |
| 24 |
RS 9 |
RS 9 |
RS 9 |
RS 12 |
RS 14 |
RS 14 |
RS 14 |
RS 16 |
Check that there are no more than 2x90°
elbows and no more than 30’ of height. If there are more than 2x90° elbows, use
a bigger fan.
Gas fireplaces will need additional controls...
PDS (Proven Draft Switch) Safety control that senses
a draft. A pressure sensor that ties into the log set or appliance
controls and would shut the gas off if the draft became negative.
ADC 100 A pre/post purge control that would extend the
the fan cycle before and after gas is present for a fireplace or appliance.
MFD Mechanical Fireplace Damper. Prevents
excess heat from escaping through the chimney when the fireplace is not in use.
|
Wood stoves, coal stoves
and fireplace inserts
| |
Stoves |
Fireplace Inserts |
| |
Door Opening in square inches A x B |
| Flue
Size |
Max. 300 |
OVER 300 |
|
6 |
RS 9 |
RS 12 |
| 7 |
RS 9 |
RS 12 |
| 8 |
RS 9 |
RS 12 |
| 9 |
RS 9 |
RS 12 |
| 10 |
RS 9 |
RS 12 |
|

|
Check that there are no more than 2x90°
elbows and no more than 30’ of height.
If there is more than 2x90° elbows, use a bigger fan. |
|
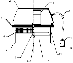
Fan Specifications
|
 |

 |
1 Junction Box
2 Conduit/cord
3 Motor
4 Motor Housing
5 Cooling Plates
6 Bird Screen
7
Base Plate
8
Locking Nut
9
Inlet
10
Axial Vane
11
Hinges
12
Capacitor
( inside J-box )

Capacitor
Wiring Diagram |
Need Exhausto fan parts... or a replacement motor for
an Exhausto fan?
Visit our NEW parts site at
enervexparts.com

 |
Is it Exhausto Exodraft or Enervex?
Exhausto is
now Exodraft, distributed as Enervex.
Read more...
Prior to 2012 all fans and parts were identified as Exhausto,
made in Denmark.
Name has changed... parts are the same.
Exhausto Part Identification.
We only supply genuine Exhausto fan motors, fan blades
and parts. |
 |
Call 1 800 685 8263 or
e-mail us with your
specs.
We will be happy to help
you choose the correct size chimney fan for your application.
|